Якою має бути ширина дороги?
Друже, коли заходить мова про дороги, виникає питання: якою має бути їх ширина? Бо ж у міському потоці машин кожен сантиметр на вагу золота. Іноді ми навіть не задумуємось, скільки ж треба простору, щоб різні автомобілі почувалися комфортно на одній лінії.
Уявіть: вузенька міська вулиця, де один незграбний водій може перекрити рух на півгодини. Ніби піщинка у моторі великого механізму. Тому розгляньмо питання ширини дороги з усіх боків — від наукових норм до повсякденних реалій.
Чинники визначення ширини дороги
Ширина дороги залежить від багатьох чинників. Саме різноманітність цих факторів спонукає до роздумів. Серед них:
- Тип дороги: Міські вулиці, автомагістралі, сільські дороги — кожен тип має свої вимоги.
- Очікувана інтенсивність руху: Більша кількість машин вимагає принципово іншого підходу до проєктування.
- Безпека: Вузькі лінії зменшують допустиму швидкість, але теж створюють ризики.
Міські вулиці
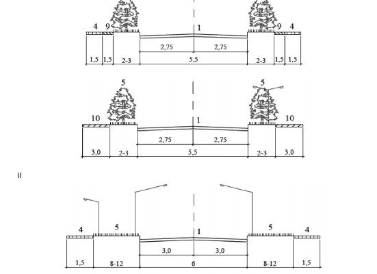
У місті кожен квадратний метр фактично розпроданий. Тут ширина дороги повинна зберігати баланс між комфортом руху, пішохідними зонами і, мабуть, авторським баченням архітекторів. Нормальною вважають ширину від 2,5 до 3,5 метрів для однієї смуги руху. Але ж буває й таке, що машини ледве поміщаються?
Автомагістралі та їх особливості
Автомагістралі — зовсім інша пара чобіт. Тут ми говоримо про абсолютно іншого роду дороги. Витривалі машини, швидкий безперервний рух… і, звичайно, широкі смуги — 3,5-3,75 метрів. Інколи впираються у ширші цифри, якщо потік машин бризкає через край.
Вплив місцевих умов
Ще одне непередбачуване естетичне питання — де саме розташована дорога. Бо ж іноді кінчики пальців вмикаються, коли згадуєш Говерлу чи Карпати. Це грає на страхах будь-якого водія — проїхати повз прірву з мінімумом місця для маневру. У таких районах завжди слід вибирати на користь безпеки та додати кілька сантиметрів.
Ремонт та реконструкція
Ремонтувати дорогу в місті — це як розіграти партію в шахи. Один хибний хід — і мат в кілька ходів. Особливо, коли виникає питання, як додати ширини стареньким вузеньким вулицям без знищення сусідніх будівель.
Практика проти теорії
Теорія є теорією, але в реальному житті — іноді ближня обочина виглядає як місце для екстреної зупинки, а ось лівий посворот — як звичне місце для пшикнути. Та ще ті сім’ї з п’ятьма дітьми на велосипедах… Це все і є наші дороги.
Коли урядові чиновники та проектувальники стикаються з реальністю, вони змушені шукати компроміси. І це ще одне підтвердження, що вулиці — це складна матерія, яка постійно трансформується.
Останнє слово за технологіями
Розумне планування, сучасні технології та інноваційні матеріали ціною золота допомагають створювати ідеальні дороги. Вони мають бути широкими настільки, щоб не втратити своєї функціональності, і вузькими, щоб зберегти землю під нашими ногами для інших корисних проектів.
У підсумку, ширина дороги залежить від безлічі факторів, і немає універсального рішення, яке б задовольнило всіх. Але це точно не привід втрачати надію на ідеальну дорогу.







